糖尿病药王遭“围攻”!2大超10亿品牌领跑,扬子江、甘李上榜,恒瑞、君圣泰1类新药来袭

专属客服号

微信订阅号
大数据治理
全面提升数据价值
赋能业务提质增效

精彩内容
近期,糖尿病用药(化+生,下同)新品捷报频传。北京双鹭药业的西格列汀二甲双胍片(Ⅰ)/(Ⅱ)、正大天晴药业集团的恩格列净二甲双胍缓释片(Ⅳ)等先后获批。今年以来,糖尿病用药已有28个品种(55个受理号)获批上市。米内网数据显示,糖尿病用药在2025年Q1-Q3中国零售药店终端销售额同比增长14.67%。从TOP20品牌来看,2大超10亿品牌领跑,4个国产品牌上榜。截至目前,糖尿病用药1类新药有5个品种(15个受理号)报产在审,其中,江苏恒瑞医药的舒地胰岛素诺利糖肽注射液、深圳君圣泰生物的熊去氧胆小檗碱胶囊均在今年报产。
畅销糖尿病药国产第2家诞生,东阳光药、先为达亮眼
日前,国家药监局官网显示,北京双鹭药业的西格列汀二甲双胍片(Ⅰ)/(Ⅱ)获批上市。在此之前,安徽金太阳生化药业的吡格列酮二甲双胍片(15mg/500mg)、北京圣永制药的二甲双胍恩格列净片(Ⅰ)、湖南华纳大药厂的二甲双胍恩格列净片(Ⅴ)、正大天晴药业集团的恩格列净二甲双胍缓释片(Ⅳ)、云鹏医药集团的二甲双胍恩格列净片(Ⅰ)、湖南迪诺制药的磷酸西格列汀片、辽宁鑫善源药业的达格列净片同日获批。
今年以来糖尿病用药(化+生)新药获批情况

来源:米内网中国申报进度(MED)数据库
今年以来,糖尿病用药(化+生)已有28个品种(55个受理号)获批上市,其中,3个为新药,宜昌东阳光长江药业的奥洛格列净胶囊、杭州先为达生物的埃诺格鲁肽注射液为1类新药,珠海联邦生物医药的德谷胰岛素注射液为国产第2家。
珠海联邦生物医药的德谷胰岛素注射液用于成人糖尿病的治疗,可单独使用或与口服降糖药、餐时胰岛素联合用药,全面满足临床长期血糖管理需求。联邦制药表示,此次获批是公司在糖尿病领域实现关键技术突破的又一重要成果。未来,将持续致力于新产品研发,并重点提升在生物医药行业的竞争力及创造力,深耕慢病治疗领域,以更优质的产品、更完善的管线服务临床、惠及患者。3月25日,联邦制药再传捷报,其全资附属公司联邦生物科技自主研发的1类创新药UBT251注射液已完成在中国2型糖尿病患者中的II期临床研究。
奥洛格列净胶囊是东阳光药自主研发的1类创新药,用于单药或联合二甲双胍改善成人2型糖尿病患者的血糖控制。东阳光药表示,此次新品获批将进一步丰富集团在糖尿病产品线的布局,集团将依托成熟的生产体系与营销网络,快速推进该产品的商业化落地,同时持续开展该产品在糖尿病并发症等领域的临床探索,进一步拓展适应症范围,为糖尿病患者提供更全面的治疗解决方案。截至目前,东阳光药在糖尿病用药领域拥有18款产品生产批文。
埃诺格鲁肽注射液是先为达生物自主研发的1类创新药,今年1月获批上市,用于成人2型糖尿病患者的血糖控制,是全球首个获批上市的cAMP偏向型GLP-1受体激动剂。3月,埃诺格鲁肽注射液新适应症获批,用于在控制饮食和增加体力活动基础上对成人超重/肥胖患者的长期体重管理,这标志着该药物已完成减重与2型糖尿病双适应症的布局。资料显示,先为达生物建立以核心资产(埃诺格鲁肽注射液等)为基石的强大产品管线,拥有偏向型激动剂发现平台、口服肽给药平台、半衰期延长平台,并基于这三大核心技术平台确立一系列候选药物,构建覆盖GLP-1及其协同机制的全面的产品管线,为代谢性疾病患者提供注射和口服等可持续且高质量的治疗方案。
2大超10亿品牌领跑,扬子江、甘李、华领上榜
近年中国零售药店终端糖尿病用药(化+生)销售情况(单位:万元)

来源:米内网格局数据库
米内网数据显示,糖尿病用药(化+生)在近年中国零售药店(城市实体药店+网上药店)终端销售规模持续扩容,2025年Q1-Q3同比增长14.67%。其中,城市实体药店是主力销售渠道;网上药店则保持快速增长,2025年Q1-Q3销售额已接近2024年全年。
从治疗小类来看,GLP-1受体激动剂(化+生)、SGLT2抑制剂(化)、胰岛素及其类似药(化+生)位居前三,合计市场份额占比超过50%。从增速来看,GLP-1受体激动剂(化+生)最快,其次是口服降糖药复方(化),增速均超过30%。从剂型来看,片剂和注射剂为两大主流剂型,合计市场份额占比超过95%。从在销品种数量来看,涉及150个产品,超过700个品牌。
2025年Q1-Q3中国零售药店终端糖尿病用药(化+生)一级集团TOP10

来源:米内网格局数据库
集团TOP20中,跨国药企依旧占据前列,诺和诺德、阿斯利康、默克、默沙东、礼来位居前五,前十仅有远大健康和扬子江药业2家国内药企上榜。此外,多家国内药企表现亮眼,恒瑞医药凭借超过200%增速晋身集团TOP20,远大健康、甘李药业、华领医药、正大制药等均有双位数增速。
2025Q1-Q3中国零售药店终端糖尿病用药(化+生)品牌TOP20

来源:米内网格局数据库
注:增长率低于10%用*表示
品牌TOP20中,诺和诺德的司美格鲁肽注射液和阿斯利康的达格列净片销售额均超10亿元,礼来的替尔泊肽注射液挺进TOP4品牌;4个国产品牌上榜,杭州中美华东制药的吡格列酮二甲双胍片(15mg/500mg)、扬子江南京海陵药业的依帕司他片销售额均超过2亿元,华领医药(上海)的多格列艾汀片、甘李药业的甘精胰岛素注射液增速均超过20%。
正增长品牌中,诺和诺德的司美格鲁肽注射液、默克的盐酸二甲双胍片、默沙东的西格列汀二甲双胍片(Ⅱ)、诺和诺德的德谷胰岛素利拉鲁肽注射液等均有双位数增速。
从集团层面来看,诺和诺德最多,有7个品种上榜,默沙东和赛诺菲各有2个品种上榜。
近年中国零售药店终端司美格鲁肽注射液销售情况(单位:万元)

来源:米内网格局数据库
司美格鲁肽注射液在2024年中国零售药店终端销售额首次突破20亿元大关,2025年Q1-Q3同比增长10.23%,是糖尿病用药(化+生)TOP1产品。日前,司美格鲁肽在中国核心化合物专利到期,意味着国内药企将加速入场。目前国内仅诺和诺德拥有生产批文,杭州九源基因、石药百克(山东)生物制药、惠升生物制药等10家国内企业报产在审,太极集团重庆涪陵制药、山东新时代药业、海南中和药业等超过20家国内企业获批临床。4月1日,成都倍特生物制药的司美格鲁肽注射液再有10个受理号报产获CDE受理。
近年中国零售药店终端多格列艾汀片销售情况(单位:万元)

来源:米内网格局数据库
多格列艾汀片是华领医药(上海)研发的1类新药,用于改善成人2型糖尿病患者的血糖控制。该产品在近年中国零售药店终端销售规模快速扩容,2023年销售额突破1亿元大关,2024年-2025年Q1-Q3同比增长均超过20%,成为糖尿病用药(化+生)TOP18品牌。不久前,华领医药发布公告,其全球首创新药葡萄糖激酶启动剂(GKA)多格列艾汀已获中国香港特别行政区政府卫生署药物办公室批准上市。公司表示,此次获批不仅为香港2型糖尿病患者带来全新治疗选择,更标志着公司以香港为枢纽,从中国正式进军东南亚及全球市场的战略布局已迈出关键一步。
重磅新品不断!恒瑞、君圣泰1类新药来袭
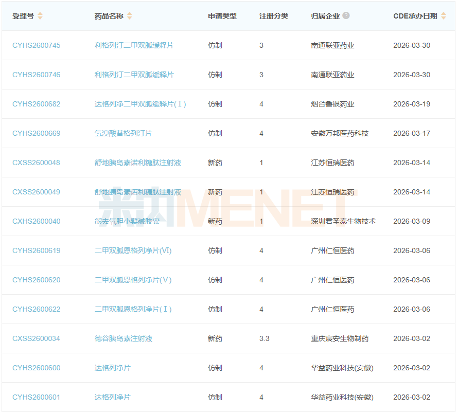
今年3月糖尿病用药(化+生)产品报产在审情况

来源:米内网中国申报进度(MED)数据库
在刚过去的3月,南通联亚药业的利格列汀二甲双胍缓释片、烟台鲁银药业的达格列净二甲双胍缓释片(Ⅰ)、安徽万邦医药科技的氢溴酸替格列汀片等多个糖尿病用药报产获CDE受理。其中,江苏恒瑞医药的舒地胰岛素诺利糖肽注射液、深圳君圣泰生物的熊去氧胆小檗碱胶囊2个为1类新药,而深圳君圣泰生物的熊去氧胆小檗碱胶囊则是公司提交的首个新药上市申请。

来源:米内网项目进度数据库
截至目前,糖尿病用药(化+生)1类新药有5个品种(15个受理号)报产在审,其中,恒瑞医药最多,有舒地胰岛素诺利糖肽注射液、HRS9531注射液、舒地胰岛素注射液3个品种报产在审。
资料来源:米内网数据库、公司公告等
注:米内网《中国城市实体药店药品终端竞争格局》,统计范围是:全国地级及以上城市实体药店,不含县乡村药店;《中国网上药店药品终端竞争格局》,统计范围是:全国网上药店所有药品数据,包括天猫、京东等第三方平台及私域平台上所有网上药店药品数据;上述销售额以产品在终端的平均零售价计算。如有疏漏,欢迎指正!
免责声明:本文仅作医药信息传播分享,并不构成投资或决策建议。
投稿及报料请发邮件到872470254@qq.com
稿件要求详询米内微信首页菜单栏
商务及内容合作可联系QQ:412539092
【分享、点赞、在看】点一点不失联哦

