5亿!阿里腾讯同时出手,脑机接口再现大额融资
来源:思宇MedTech原文链接

专属客服号

微信订阅号
大数据治理
全面提升数据价值
赋能业务提质增效

2026年3月13日,上海阶梯医疗科技有限公司宣布完成5亿元人民币战略融资。本轮融资由阿里巴巴领投,国投创合跟投,老股东腾讯、源来资本、奥博资本、元禾原点、启明创投、礼来亚洲基金、源码资本、上海国投先导等持续跟投,启峰资本担任独家财务顾问。
根据公开信息,本轮资金将主要用于:
脑机接口产品研发
临床试验推进
产品注册申报及商业化准备
# 公司介绍
上海阶梯医疗科技有限公司是一家从事脑机接口及神经调控医疗技术研发的企业。
公司主要从事侵入式脑机接口系统及相关神经调控设备的研发与临床转化,重点布局脑机接口医疗应用及神经功能重建方向。
企业业务领域包括:
脑机接口设备研发
神经调控系统开发
神经系统疾病相关医疗应用
# 产品与技术简介
根据企业公开信息,阶梯医疗主要围绕侵入式脑机接口及神经调控系统开展产品研发。
1. 侵入式脑机接口系统(WRS02)
用于脑信号采集与脑控交互相关应用场景。
该系统为256通道无线高通量脑机接口系统,用于通过植入式电极获取脑信号并进行处理与交互控制。
公开信息显示,该产品已进入国家药品监督管理局创新医疗器械特别审查程序。
公司已于2026年初完成该系统的临床植入及功能验证,并计划在2026年内开展多中心注册临床试验。

256通道无线高通量侵入式脑机接口系统(WRS02)图源:阶梯医疗
2. 深部脑刺激系统(DBS)
用于神经调控相关治疗场景,包括帕金森病、癫痫等神经系统疾病。
该系统基于闭环神经调控技术,通过植入式电极对深部脑区进行刺激调节。
公开信息显示,该产品已完成初步临床研究植入,并计划后续推进临床试验。
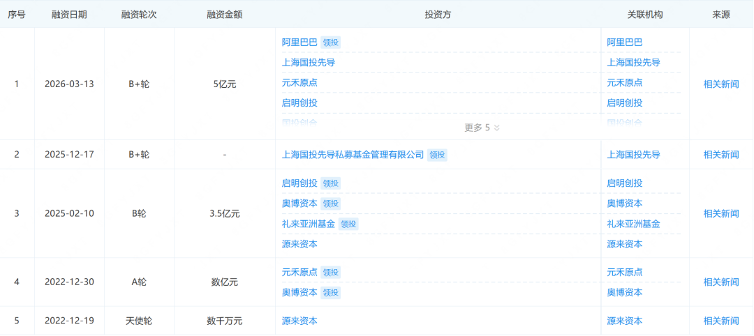
# 融资历程
据神经未来查询企查查网站,该公司融资历程如下表:

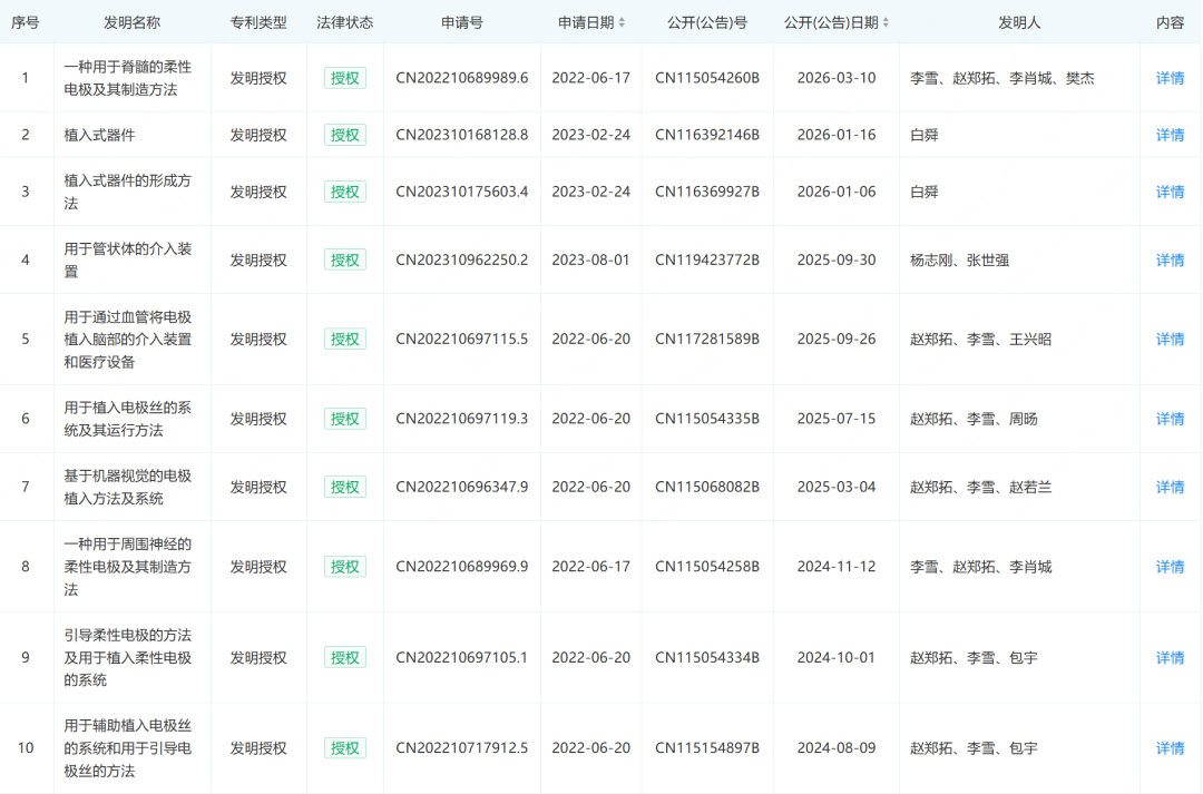
# 专利情况
据神经未来查询企查查网站,该公司专利如下表:


转载说明:本文系转载内容,版权归原作者及原出处所有。转载目的在于传递更多行业信息,文章观点仅代表原作者本人,与本平台立场无关。若涉及作品版权问题,请原作者或相关权利人及时与本平台联系,我们将在第一时间核实后移除相关内容。

